45° Butt Weld Elbow Dimensions
ASME B16.9 Long Radius Fittings (Full Schedule Database)
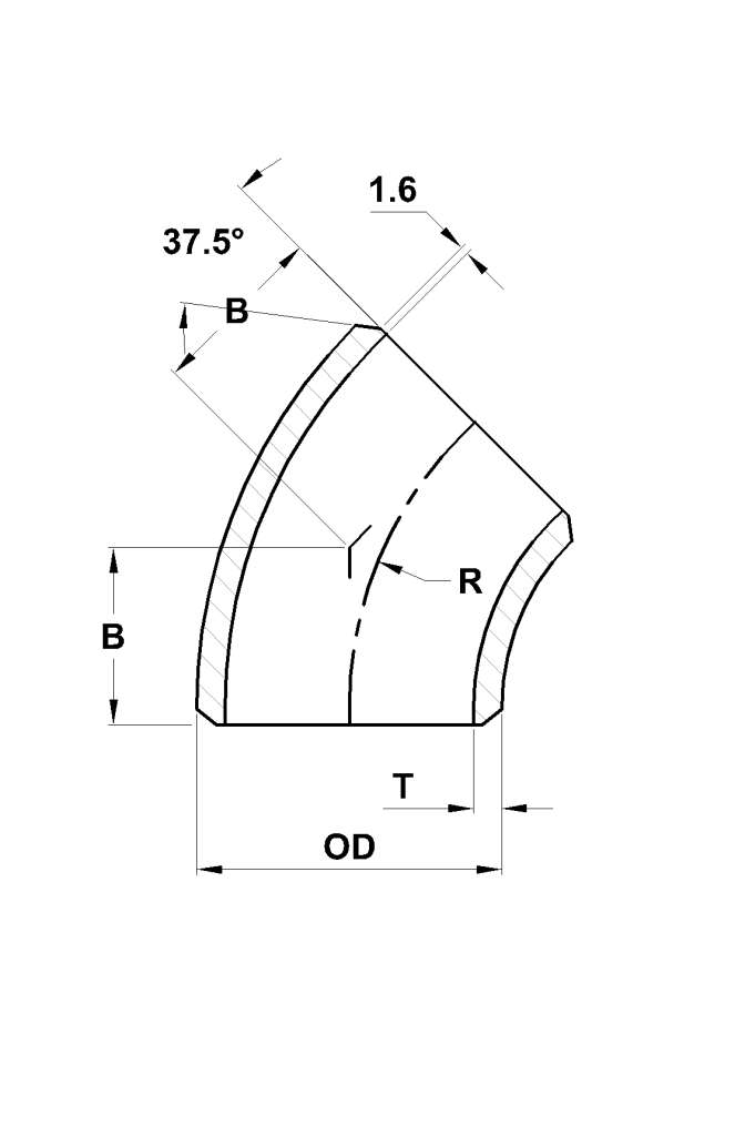
Dimension Guide

B (Center-to-End): Distance from face to intersection of centerlines.
R (Radius): Curvature radius from the center.
OD: Actual Outer Diameter of fitting ends.
T: Wall thickness matching pipe.
R (Radius): Curvature radius from the center.
OD: Actual Outer Diameter of fitting ends.
T: Wall thickness matching pipe.
* Wall Thickness (t) Not less than 87.5% of Nominal Wall Thickness
Source: ASME B16.9 Standard Specifications